|
|
|
 |
| |
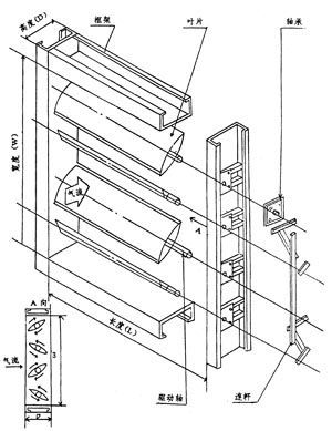
| 调节挡板风门 | 调节档板风门用于烟风管路中作调节流量之用,当档板风门在90°行程内开度变更时,通过管路中的工质流量也相应变更。风门调节特性优良,转动灵活。
用户在选用调节档板风门时应注意以下几项。
1、调节档板风门规格中的宽(W)和长(L)是指风门框架的内边尺寸,宽度是档板轴垂直方向的尺寸,调节档板风门高度(D)与叶片宽度有关,本系列的尺寸均采用450mm。
2、根据与调节档板风门相接管道的内边尺寸选择风门,尽可能使两截面尺寸保持一致。
3、风门在管路布置中,应保持档板轴处在水平位置。
4、本系列调节档板不能截断管路工质的流动,故需与关闭档板风门或隔绝门连用。
5、对系列中未包括的规格,根据用户需要,可进行特殊设计。
6、调节档板风门订货时应提出使用工况参数。
① 工作压力(P)KPa。
② 工作温度(t)℃
③ 工作介质。
④ 风门在管路中的用途及位置。
7、供货范围:
风门本体及电动执行机构。
调节档板风门结构简图
|
| 上一页:防爆门 下一页:HJ-DF系列电动木块分离器 |  |
|
|