首页导航 | 加入收藏 | 设为主页
欢迎您来到无锡市华锦电力设备修造有限公司的企业网
     > Here is the contents of our home page navigation forum, to provide you with convenient browsing. Thank you! ...
制粉系列
除灰系列
上煤系列
 

无锡市华锦电力设备修造有限公司
地 址:无锡市滨湖区雪浪方庙工业园区
电 话:0510-85187068
传 真:0510-85183818
邮 编:214125
Http://www.hjdlsb.com
E-mail:sales@hjdlsb.com

 
 
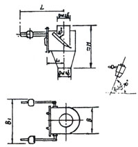
HJ-XS系列斜板式锁气器
   斜板式锁气器的作用原理于锥式锁气器一样,它的重锤质量可以调节,使煤粉积到一定量时活门开启一次,煤粉通过后又迅速关闭。锁气器的直径应选择于管道直径相等。

   斜板式锁气器由于结构简单,使用方便,多般被用于粗粉分离器的回粉管上,能够防止气流窜流,起到密封作用。本产品具有六种不同规格,规格的通煤量可达98吨/时。
   安装时斜板式锁气器与水平的倾斜角度65°~70°,重锤杆应保持水平。

   垂直于锁气器的粉柱密封高度,宜按粗粉分离器进口与磨煤机进口的负压差计算,但不宜小于800毫米。
上一页:HJ-MXF系列本屑分离器
下一页:耐磨可调缩孔(单芯、双芯)
    
Copyright @ 无锡市华锦电力设备修造有限公司 All reserved. 地 址:无锡市滨湖区雪浪方庙工业园区 电 话:0510-85187068 传 真:0510-85183818  邮 编:214125 Http://www.hjdlsb.com E-mail:sales@hjdlsb.com
苏ICP备05006662号-1无锡网络公司:君通科技